
4 mm
44 mm
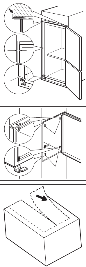
Tilpas køleskabet i nichen.
Sørg for, at afstanden mellem køleskabet
og skabets forkant er 44 mm.
Det underste hængsels afdækning (i po-
sen med tilbehør) sikrer, at afstanden
mellem apparatet og køkkenskabet er
korrekt.
Sørg for, at afstanden mellem apparatet
og skabet er 4 mm.
Åbn lugen. Sæt det underste hængsels
afdækning på plads.
I
I
Fastgør køleskabet til nichen med 4 skru-
er.
Fjern den rigtige del fra hængslets afdæk-
ning (E). Sørg for at fjerne den højre del
på det højre hængsel og den venstre del
på det venstre hængsel.
progress 13
Comments to this Manuals