
70 progress
Fig. 21
Cleaning
Clean the two sets of side rails on the
outside only with commercially available
detergents.
The side rails must not be cleaned in the
dishwasher.
Once the cleaning is carried out; refit the
shelf supports following the procedure in re-
verse.
Please ensure that the retaining
nuts are secure when refitting
the shelf support.
To activate the pyrolytic cleaning function
proceed as follows:
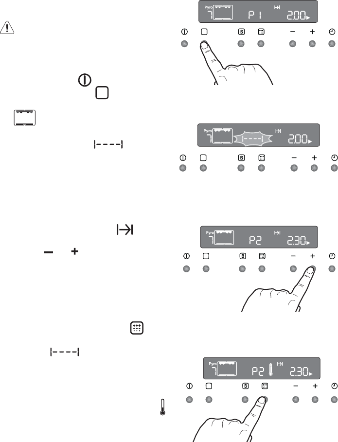
1. Using the button switch on the oven.
Press the button
as often as
necessary, until the Pyro function symbol
(level 1 - P I) appears in the display
(Fig.) 18).
and the symbol
and the
indicator Pyro flashes in the display at the
same time and an acoustic signal is
emitted (Fig. 19).
This means that, before activating the
pyrolytic cleaning function, you have to
remove all the oven accessories and the
side rails from the oven cavity.
2. The “Cooking time” symbol
will flash
for 5 seconds; during this time, press the
button ‘
’ or ‘ ’ to select the pyrolytic
1 (P I) or pyrolytic 2 (P 2) function (Fig. 20).
3. Once you have chosen the desired
pyrolytic function, Pyro will flash in the
display waiting for confirmation to start
the pyrolytic cleaning function.
4. To confirm the desired pyrolytic cleaning
function, press the button
. The
display Pyro stops flashing and the
symbol
will disappear, the
acoustic signal will stop, the oven lamp
will switch off and the pyrolytic cleaning
cycle starts (Fig. 21).
As soon as the temperature in the oven
increases, the thermometer symbol
increases slowly, indicating that the
temperature inside the oven is increasing.
Fig. 20
Fig. 19
Fig. 18
Comments to this Manuals